В отопительных и водоснабжающих системах функцию по снижению давления выполняет редукционный клапан или так называемый регулятор давления.
Рис.1.1 Регулятор давления LDM
Это является необходимым для поддержания требуемого Р2 после перепада, также для выполнения корректной работы другого оборудования. Необходим он для того, чтобы в случае возникновения гидроудара в сети были минимальные потери и не было повреждений непосредственно самого гидравлического оборудования.
Устанавливается такое оборудование для того, чтобы в случае повышения воды в трубопроводе, сократить ее напор, а также для увеличения его при организованном водоразборе в доме, где проживает много людей.
Если рассматривать типы самих регуляторов давления, то их несколько: выходные регуляторы «до себя» и выходные регуляторы » после себя», а также есть регулятор перепада давления.
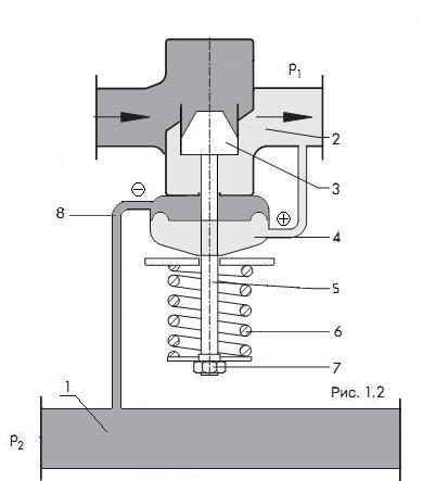
Рис.1.2. Регулятор перепада давления на трубопроводе.
Если говорить о регуляторах «до себя», то они направлены на автоматическое поддержание Р1 до прибора. Если напора воды нет, клапан всегда находится в закрытом состоянии. Как только напор начинает повышаться, за счет импульса происходит движение мембраны. Благодаря настроечному винту такого типа теплотехнического оборудования, можно без труда задать нужные параметры.
А вот уже регулятор давления после себя поддерживает заданный уровень напора самой воды в трубопроводе после него. Применяя такое устройство, повышается и срок службы самих трубопроводов, теплового оборудования. Благодаря использованию таких устройств, значительно уменьшается шум и напор воды в кране остается постоянным.
Отличие регуляторов перепада давления состоит не в том, чтобы производить поддержку заданного уровня Р2, а в том, чтобы в любое время перепад был одинаковым.
Регулирующей арматурой непосредственно прямого действия являются регуляторы давления воды, называющийся так, поскольку не требуют потребления энергии извне. Такое оборудование находит свое применение в системах водоснабжения или теплоснабжения.
Во многих европейских странах почти в каждом доме или квартире можно встретить такие приборы. В России же такое направление находится на начальном развитии.
Если Вы хотите приобрести регуляторы давления или Вам необходим расчет регуляторов, обращайтесь по электронной почте через сайт www.ldmvalves.ru или по телефону: (499) 343-27-26

